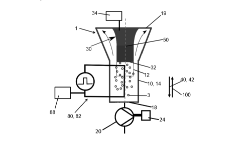
The invention relates to a device (1) for disintegrating particles (3) of a suspension with ultrasonic sound. The device (1)
Innovation Offers
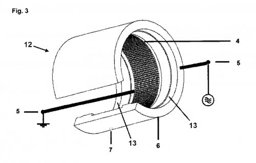
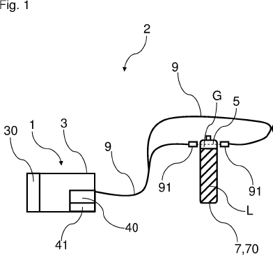
The invention relates to a device, preferably a collar, for treating areas of human or animal skin or mucous membrane
The invention relates to a device for the treatment of free-form areas and zones of human or animal skin areas
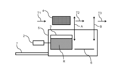
Device for determining a pressure, a temperature and / or a particle density of a gas or gas mixture
Device (1) for determining a pressure, a temperature and / or a particle density of a gas or gas mixture
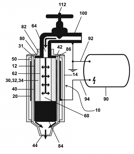
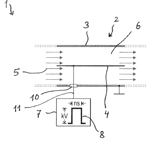
The invention relates to a device (10) for treating a liquid with a plasma, the device (10) having a high-voltage
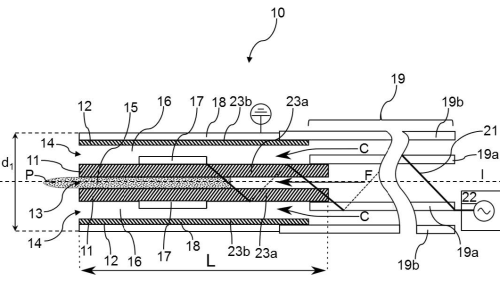
The invention relates to a device (10) for generating a plasma jet (P) comprising a first conduit (11) inside a
The invention relates to a method for treating fluids (5) by producing corona discharges (12) in the fluid volume (6).
The invention relates to a method for the biological decontamination of material to be treated (4) by means of a
